公司动态

了解最新公司动态及行业资讯

可移动式土壤淋洗机 可移动式土壤淋洗机原理

2017-10-10 02:04:40 293 编辑:admin 来源:本站
  目前国内外,大多数的污染土壤修复剂的研制都是在实验室中完成的,但受于检验设备的限制修复剂效果未能进行具有时效性的检验。除此之外,污染土壤处理装置以大型设备为主,不便于搬运,而小型设备又不同时具备土壤淋洗和固液分离的能力。
  本发明的目的在于提供一种可移动式土壤淋洗机,该设备可以对小面积污染的土壤进行淋洗与固液分离两个工艺过程,实现去除土壤中污染物的目的。
  一、技术方案:
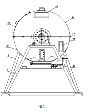
  一种可移动式土壤淋洗机,包括底座、电机支架、轴承座支架Ⅰ、轴承座支架Ⅱ、外筒体支架、电机底座、电机、减速机底座、减速机、联轴器、主轴、轴承座Ⅰ、轴承座Ⅱ、外筒体、法兰盘、喷淋管、内筒、溢流口。底座是由两根横向和两根纵向的槽钢焊接而成的平面,在底座上依次安装 3 个大小相等的电机支架、轴承座支架Ⅰ和轴承座支架Ⅱ,电机支架、轴承座支架Ⅰ和轴承座支架Ⅱ均垂直于底面,其中在电机支架和轴承座支架Ⅰ的上端安装减速机底座,在电机支架和轴承座支架Ⅰ的中间部位安装电机底座。在电机底座上安装电机,在减速机底座上安装减速机,电机输出轴和减速机输入轴伸出床身外侧,在电机输出轴上安装电机带轮,在减速机输入轴上安装减速机带轮,电机带轮与减速机带轮通过 V 带连接。
  在底座上轴承座支架Ⅰ与轴承座支架Ⅱ之间安装两个外筒体支架,在两个外筒体支架的上方安装外筒体。外筒体为圆形筒体,分为上外筒体和下外筒体,上外筒体和下外筒体通过外筒凸缘连接,在上外筒体的上方设有一排喷嘴,在喷嘴的上方设有一根喷淋管,喷淋管与喷嘴之间通过圆管相连。在上外筒体上开有外筒进料口,在外筒进料口上安装外筒门。在下外筒体下方设有下料口,在下料口上安装外筒下门 ;在下外筒体下方还设有排水口。外筒体的两端为外筒体端板,在其中一个外筒体端板的上方设有检视口,在该外筒体端板的下方设有溢流口和液位计。两个外筒体端板分别开有中心孔,轴承座Ⅰ和轴承座Ⅱ分别安装在两个外筒体端板的中心孔中,其中轴承座Ⅰ的下方通过螺栓安装在减速机底座上,轴承座Ⅱ的下方通过螺栓安装在轴承座支架Ⅱ的上端。在外筒体内腔有一根主轴,该主轴的一端安装在轴承座Ⅱ内,主轴的另一端穿过轴承座Ⅰ通过联轴器与减速机输出轴连接。在外筒体内的主轴上安装两个法兰盘,法兰盘与主轴通过键连接 ;内筒安装在外筒体内,内筒为鼠笼型结构,内筒的两端为内筒端板,该内筒端板通过螺栓固定在法兰盘上,在内筒两个内筒端板之间均匀安装数个支撑杆,形成了内筒的鼠笼型骨架,在内筒两个内筒端板之间还设有一个内筒门框架,在该内筒门框架上安装一个内筒门 ;在支撑杆外侧包裹一层滤布,滤布外侧包裹钢丝网,其中内筒门不包裹滤布和钢丝网。
  二、附图说明
可移动式土壤淋洗机的结构示意图可移动式土壤淋洗机的结构示意图
  图 1 为可移动式土壤淋洗机的结构示意图 ;
  图 2 为图 1 的左视图。
  三、本发明的优点与效果是 :
  1. 本发明可移动式土壤淋洗机具有体积小、可移动、可进行淋洗和固液分离于一体的特点,用于小型实验室中和突发事故造成的小面土壤污染进行处理,并且操作便捷。
  2. 本发明结构紧凑,利用工业滤布的双向渗透性与双层机构,实现土壤的淋洗与水土固液分离于一体,避免实验过程中更换设备而引起的误差,确保检验效果更加准确,同时操作方便、便捷 ;为土壤修复剂提供现场检验的实验设备,也可以对小面积污染场地进行及时处理。

30

装备制造经验

立即免费获取土壤修复方案

为用户提供及时、高效、便捷的服务

在线咨询
AG百家乐环境希望与你携手,共创美好未来...
5